|
1-23-2022
|
 |
|
|
|
|
|
|
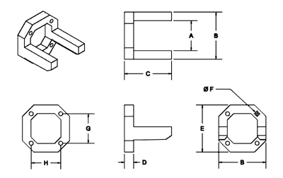
SIZE
|
A
|
B
|
C
|
D
|
E
|
F
|
G
|
H
|
.049

|
.640
|
1.100
|
1.150
|
.245
|
1.150
|
.100
Ø
|
.725
|
.725
|
.09

|
.875
|
1.390
|
1.400
|
.255
|
1.390
|
.110
Ø
|
.875
|
.875
|
.15

|
|
|
|
|
|
|
|
|
.25

|
|
|
|
|
|
|
|
|
.40

|
|
|
|
|
|
|
|
|
ALL DIMENSIONS IN
INCHES
|
|
|
|
|
|
SIZE
|
A
|
B
|
C
|
D
|
E
|
F
|
G
|
H
|
I
|
.049

|
.625
|
1.145
|
1.150
|
.255
|
1.062
|
.092
Ø
|
.660
|
.425
|
.780
|
.09

|
.875
|
1.400
|
1.375
|
.255
|
1.310
|
.125
Ø
|
.750
|
.625
|
.965
|
.15

|
.950
|
1.550
|
1.770
|
.290
|
1.455
|
.125
Ø
|
.875
|
.625
|
1.125
|
.20

|
1.170
|
1.800
|
1.835
|
.385
|
1.675
|
.125
Ø
|
1.100
|
.562
|
1.300
|
.40

|
1.250
|
2.025
|
2.080
|
.385
|
1.915
|
.140
Ø
|
1.200
|
.700
|
1.450
|
ALL
DIMENSIONS IN INCHES
|
|
|
|

From the original COX molds
Cox mounts for .049, .09, .15, .20
and extra long for Conquest .15
|
|
SIZE
|
A
|
B
|
C
|
D
|
E
|
F
|
G
|
H
|
.049

|
.675
|
1.150
|
1.200
|
.200
|
1.000
|
.120
Ø
|
.750
|
.875
|
.09

|
.830
|
1.312
|
1.275
|
.220
|
1.155
|
.120
Ø
|
.875
|
1.000
|
.15
M 
|
.975
|
1.550
|
1.750
|
.250
|
1.340
|
.120
Ø
|
.875
|
1.187
|
.15
C 
|
1.100
|
1.735
|
2.375
|
.350
|
1.425
|
.150
Ø
|
1.100
|
1.425
|
.20

|
1.170
|
1.740
|
1.850
|
.350
|
1.425
|
.150
Ø
|
1.100
|
1.425
|
ALL DIMENSIONS IN
INCHES
|
|
|
|


Click here for 3d
|
|
ALL
DIMENSIONS IN INCHES
|